Merci les gars,
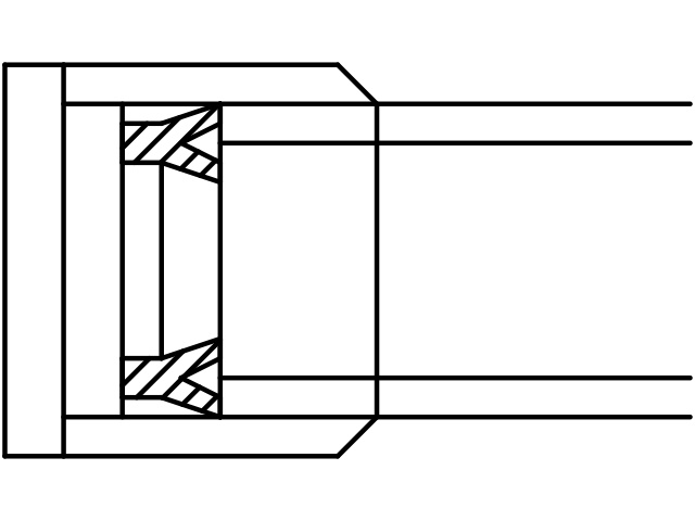
Oui c'est bien ces joints, je les monte le v coté huile
A+




C'est peut être un provisoire mais soit mettre un à 90° ou le mettre sur le dessus comme les autres car ton vérin dépasse de la lame. Quand tu vas faire un cordon, les matériaux vont frotter le raccord.
Lrz76 a écrit:Pour le petit vérin, c'est possible de faire une tête démontable, mais ça augmente la section du vérin en tête, j'ai peur que sa face pas beau
A+

et si un jour ru doit changer tes joints un coup de chalumeau et sa sort facilement 
Retour vers Divers / accessoires
Utilisateur(s) parcourant ce forum : Aucun utilisateur inscrit et 7 invité(s)